
德国舒克集团公司全焊接?SUPERBLOC
G??型球阀功能和技术特点



德国舒克集团公司制造的球阀,全面继承了德国?Boreig?公司球阀的制造技术,许可
证和专利技术,?30?多年来为世界天然气和油品长输管道提供了超过?6?万台大型球阀,同
时,德国舒克公司生产的球阀经受了在各种环境条件下的考验,具有在中东沙漠、海上
钻井平台等恶劣环境条件和人员稠密地区长期使用的经验。
德国舒克集团公司生产的全焊接球阀大优点是:全焊接式,免维护、零泄漏。在
全世界同类球阀中是重量轻的,直径大的(大为?1500mm、高工作压力可达
40MPa?、工作温度范围从负?60至正?160摄氏度),与其它外国公司和中国公司相比,德国
舒克集团公司生产的全焊接球阀不仅技术先进,历史悠久,而且质量安全可靠。
1.1?“SCHUCK”?地面球阀规格组件
1、次级密封剂压头(阀座)
2、次级密封剂压头(操纵杆)
3、操纵杆
4、传动件连接法兰
5、排气接头(可选)
6、次级密封剂压头(阀座)
7、排空
8、阀座区域

1.2?“SCHUCK”?球阀分解示意图
1.3??德国舒克球阀的主要功能和技术特点:
1.3.1、舒克球阀是完全按照?API,?ASME,ANSI?和?DIN/EN等国际标准生产球阀和执行机构的,同时也能满足所有国家的标准,在设计、制造、材料、测试、检验和包装运输方面也完全满足客户要求。所提供的阀门满足?API?Spec?6D?新版的技术要求.
1.3.2、球阀是按照?API?6D?设计的全焊接结构、只有中间一条垂直沿圆周焊缝的球阀?(如1.2“SCHUCK”?球阀分解图所示:垂直焊缝位于阀体的中间,远离阀座密封面,从而避免了焊缝穿越阀座位置对阀座密封面造成的损害)。球阀在制造过程中消除了焊接应力,所有阀门均为防火安全型,满足?API?Spec?6FA,?std.607,具有防火、防静电功能,阀杆具有防喷出功能。

如左图所示:“SCHUCK”12″?以上球阀阀杆和球体是采用特殊工艺焊接成为一体进而达到防爆喷功能。
如右图所示:“SCHUCK”12″?以下球阀
阀杆上有一台阶,利用压紧螺母压?住
阀杆台阶防止阀杆喷出达到防爆喷?效果。

1.3.3、球阀是固定球,它的支承环系统能自定中心和浮动,并带有预紧的弹簧元件,球芯由销子定位。支承环和球芯配合处涂?PTFE?涂层,减小球芯旋转时的摩擦力从而减小阀门开关扭矩。
1.3.4、球阀外壳的形状与球芯的轮廓一致,优实现了低
的重量和大的稳定性承受,能安全承受大应力而
不破坏球阀的连接和密封。球阀的外壳是全焊接式的,
能承受高的内、外压力,在有害介质下(如酸性天然
气)也能安全地工作。
1.3.5、球阀开闭时只需很低的扭矩,它的密封和轴承是免保养和免维修的,在管道高
工作压力下,可不中断管道工作而更换轴颈密封。
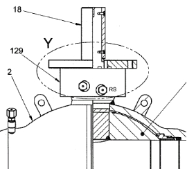
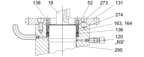
球阀阀杆?3?级密封装置结构(如图)
3??级密封装置由?1.??弹簧预压的?PTFE?U??型密封?(136)??和能进一步旋紧的螺栓(138)?,?2.?在操纵轴(18)?上,隔离圈(273)??和下隔离圈(274)?之间带轴环的,可以由缸体螺栓进一步拧紧的防火密封?(52)??,?3.??两个由下隔离圈(274)?的?夹紧的?O??型圈?(?163,164)?组成。
U?型密封(136),??及防火密封?(52,?273,?274)??可以在全管道压力下换。??密封材料通过连接管送入(带?RS??记号,只能是松开状态的球阀)。?由于不同的压力使得衬套?(295)??压紧在操纵轴?(18)??上,??这样形成一个密封端以便替换轴密封

1.3.6、球阀有排污管和排空管,可排除管道污物,可向外排除球腔内过高压力或在管道内部自动泄放过高压力,增加球阀的密封,并检验球阀是否完全密封。球阀也是防静电设计的。
向上引伸的排气和排水管都带有球阀?(101)?。??根据要求装置上可增加截断装置。

1.3.7、舒克的阀门能满足连续运行?30?年以上,有在欧洲?30?多年使用寿命的工程的实例。是全焊接、全通径固定结构的球阀,对焊连接阀门的焊接坡口执行?ASME?B31.8?或用户的规定。法兰端阀门执行?ANSI?B16.5?或?EN?标准。球阀相关性能长期满足工况要求,是免维护的球阀。
1.3.8、球阀所配执行机构或控制系统的故障不会影响到阀门的其他部分,且其维修和更换不影响阀门的正常工作和不需要降低管道压力
1.3.9、舒克的阀门为零泄漏结构。阀座密封结构为锻钢阀座+嵌入式软密封即?PMSS?结构,阀座背环再设置一道密封,同时配备密封脂辅助密封。阀杆的密封结构为,PTFE+FPT?+?石墨三层密封,同时配备密封脂辅助密封。所有密封脂都能在管道带压条件下进行注脂。使用的密封脂牌号为?VALTEX,?完全满足功能要求,性能保持稳定,抗老化、抗腐蚀。
PMSS-?结构??带双活塞功能的通径密封结构说明(如图)

两个在外壳(168,169)?上能自由
活动的左右支撑座?(37)??被预紧弹
簧元件?压紧在球体(17?)上。
弹簧元件?(40)??支撑在外壳连接件
(168?,169)??上。??支撑座?(37)??上嵌
有密封圈?(38)??。??支撑座的金属
环形作用在球体表面形成初级金
属密封和次级软密封(PMSS?);
O??型圈?(39)??承担支撑座?(37)??和外
壳连接件?(168?,169)?之间的密封。通径密封元件在结构设计上是这样安排的,??与压力方向无关(?无论来自管道还是外壳内部)地在直径?D?A?和?D?I?之间形成不同的压力面。??因此通过介质能够自动均匀地产生平面压力作用在主密封?(38)??上。
1.3.10、阀门具有双截断和泄放(DBB)功能,阀体中腔能自卸压,且每一侧都能承受全压差,阀体与阀座支撑配合内孔表面镀?PTFE。上下游阀座按工程需要或技术要求采用带有自释放密封环的单活塞或双活塞效应阀座。
1.3.11、阀门在运输前,裸露金属面的部件和设备均涂有合格的防锈剂,该防锈剂在现场条件下不会融化成液体而流失,同时所有部件已针对环境条件进行了认真防护,在安装现场的环境条件下能够灵活操作并无故障,外防腐层采用聚氨酯?PUR?涂料,保证埋地?30年不脱落或老化。为避免现场安装划伤防腐层,随发货还带有备用防腐涂漆供工地现场使用。阀门地上部分的防腐漆采用欧洲标准或业主要求,漆色按业主要求执行。为了避免在运输和现场储放过程中微小垃圾粒子混入支撑环间隙造成磨损漏气,舒克公司在对试验完毕的球阀转动缝隙贴上密封胶带,直到现场使用球阀前才可取下,并且不需要用户在现场再做任何测试就可直接使用。


1.3.12、阀杆顶部装有开关的阀位指示器。铭牌安装牢固、标示清晰。
1.3.13、向客户提供完整的主要零部件和标准件的化学成分和机械性能检测报告。
1.3.14、阀体、球体、阀座和阀杆采用锻钢,并保证其与相应管道钢材之间的可焊性。
1.3.15、球体和阀座支撑、阀杆和其他内件表面镀铬或者化学镀镍。“SCHUCK”球阀化
学镀镍工艺在硬度方面优于其它化学镀镍工艺,源于“SCHUCK”球阀对化学镀镍层进
行了回火处理,使化学镀镍层的硬度达到?HV?840,涂层?75μm。
1.3.16、阀门检验与测试严格遵循并符合?API6D、API598、ANSIB16.3?以及其它适用标准的
要求。
1.3.17、对于与管线的连接采用焊接形式的阀门,阀门与管道的连接端保证材质强度的适配
性和可焊性,阀门对焊连接端坡口遵守?ASME?B31.8?的要求。两端加过渡段(袖管)的门,
阀门过渡段能保证现场两端焊接操作对密封材料不产生影响。袖管在所有压力和密封检测
之前焊到阀体上。
1..3.18、所有阀门有安装吊耳,便于在维修、更换、运输或安装过程中用机械装置吊装。
阀门具有足够的强度和刚度,能保证阀门在现场使用条件下安全运行。